一、戳穿強度
戳穿強度是指瓦楞紙板在規定的試驗條件下,被符合標準規定的戳穿頭由高處落下時穿透紙板所消耗的能量。 戳穿試樣時,戳穿頭穿透試樣的過程由三個連續動作組成,即刺穿、撕裂和彎折。面紙的縱橫兩個方向的撕裂強度和瓦楞楞芯紙的平壓強度對瓦楞紙板的戳穿強度有重要影響。戳穿強度與原紙的纖維韌性、硬度、緊度、含水率以及瓦楞紙板的粘合強度和瓦楞紙板的厚度等有著密切的關系。戳穿強度是一種動態強度,它通過測試一定形狀的角錐穿過紙板所需的功能來模擬紙板受到突然施加的沖擊力時的強度性能。戳穿強度體現紙箱在使用或運輸過程中的沖擊力,通過試驗反映瓦楞紙板承受銳利物體沖撞的抵抗能力。
我國、日本和韓國習慣使用工程單位制kgf.cm,美國和英國習慣使用lbf/in,國際單位為J,在精密科學技術領域中,廣泛統一使用國際單位制是必然趨勢。它們之間的換算關系如下:
2 1 J=10.2 kgf.cm = 8.85 lb.in
2 1 kgf.cm = 0.098 J= 0.87 lb.in
2 1 lb.in = 0.113J=1.153 kgf.cm
戳穿強度的試驗方法按GB/T 2679.7《紙板 戳穿強度的測定》進行,對應國際標準ISO 3063-1975。
二、參考方法標準
GB/T2679.7、ISO3036、TAPPI T803
三、檢測原理
在規定的試驗條件下,將試樣夾在戳穿強度測定儀上,用連在擺上的戳穿頭穿透試樣,測定戳穿試樣時所消耗的能量,以焦耳(J)表示。
四、檢測設備
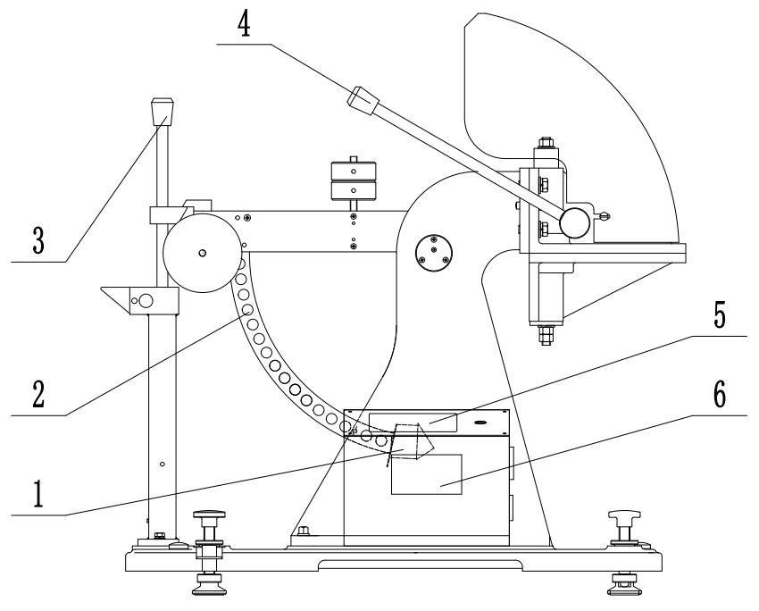
電子式戳穿強度儀由擺錘、戳穿頭、防摩擦套環、配重砝碼、松釋裝置、編碼器、顯示屏、硬件電路及WiFi聯網模塊等部件組成。紙板戳穿強度測定儀(以PN-PRT48F智能機型為例)外形結構如圖1所示,戳穿頭示意圖如圖2所示。

1-戳穿頭 2-擺臂 3-擺錘釋放機構 4-試樣加壓裝置 5 - 顯示屏 6 -打印機
圖1 PN-PRT48F 紙板戳穿強度測定儀

A-擺臂橫斷面
圖2 戳穿頭示意圖
儀器的底板應牢固地連接到堅固的基礎上,在試驗過程中不應產生振動和移動,以免損耗能量,且應保持設備水平牢固地放置。
4.1 擺錘和戳穿頭
擺錘上裝有90°圓弧的擺臂,擺臂應很堅固,足以使試驗結果不受震動的影響。戳穿頭接于擺臂的前端,是按照標準幾何參數設計的正三角棱形角錐,其高度為(25士0.7)mm,各面邊圓角的半徑為1.0mm~1.6mm。戳穿頭角錐的一個底邊平行于擺軸,該底邊的對角應指向擺軸。當角錐戳穿頭通過擺軸水平面的一半時,通過戳穿頭有效點的對稱軸應垂直于水平面。
4.2 防摩擦套環
安裝于戳穿頭后部,在戳穿頭穿過紙板時脫離戳穿頭,留在試樣上保持試樣開孔,以避免弧形擺臂在穿過試樣后受到摩擦而影響測試結果。當防摩擦套環不脫離戳穿頭時,由于摩擦作用而損耗的能量是可測的,且可以通過調整環的松緊來改變。
4.3 配重砝碼
根據試樣戳穿強度的大小,在擺臂上調整配重砝碼,以改變擺錘的沖擊力,便于選擇合適的測量范圍,使試驗結果在相應刻度最大值的20%~80%之間。
4.4 夾板
用于固定試樣,配有2塊水平夾板,分為上夾板和下夾板。上夾板是固定的,其下平面應處于擺軸的水平面上,或位于擺軸水平面上方不超過7mm處;下夾板是活動的,用于夾緊試樣,夾板的有效面積應不小于175mm×175mm。
上、下夾板間各有一個等邊三角形的孔,兩個孔應相互重合。該三角形孔的邊長為(100士2)mm,其中一邊與擺軸平行,該底邊的對角應指向擺軸。
上、下夾板應有足夠的剛度,當試樣受沖擊時夾板不產生變形。上、下夾板的夾緊力應在250N~1000N之間,并可調節。如果儀器沒有測定夾緊力的裝置,那么應保證在測定過程中試樣不松動。
4.5 松釋裝置
松釋裝置包括固定裝置、釋放裝置和保險裝置。固定裝置是將擺錘水平地吊掛在起始位置;釋放裝置應能平穩自由地釋放擺錘,不應給擺錘施加任何初速度;保險裝置應鎖緊釋放裝置,使之不能隨意操作,以防擺錘意外脫落。
五、測試過程
5.1試樣采取和處理
試樣采取按GB/T 450進行,處理按GB/T 10739進行。
5.2 試樣準備
從處理后的每張樣品中,切取不小于175mm×175mm的試樣8張。試樣應平整,無機械加工痕跡和外力損傷。在任何情況下,戳穿試樣應距樣品邊緣、折痕或印刷部不少于60mm。如果由于某種原因,用已印刷的紙板做試驗,則應在試驗報告中說明。
5.3 定期調節及校準
定期進行擺錘平衡、編碼器摩擦阻力和防摩擦套環阻力的調節和校準。
5.4 儀器調水平
儀器調水平,不水平直接影響測量結果。
5.5 選擇檔位
根據試樣的戳穿性能選擇合適的檔位,使測量結果在量程的20%~80%之間。檔位如下:A檔:不掛重砣和滾花螺母;B檔:掛滾花螺母;C檔:B、C砣和滾花螺母;D檔:B、C、D砣和滾花螺母。

圖3 檔位選擇示意圖
5.6 放置試樣
將防摩擦套環套在戳穿頭上,然后將待測試樣夾在上、下夾板之間。
5.7 測試
打開釋放保險裝置,按“測試”鍵,釋放擺錘,戳穿頭穿過試樣。當擺錘擺回來時,順勢用手接住擺臂或擺錘背部的把手,慢慢提起擺錘,使其吊掛在起始位置。

圖4 戳穿強度測試設備
六、結果表達
1) 將一張試樣的縱向正面,縱向反面,橫向正面、橫向反面各2個測定值進行算術平均,作為該試樣的戳穿強度。縱向平行于擺的擺動方向為縱向戳穿強度;橫向平行于擺的擺動方向為橫向戳穿強度。
2) 若要測定一張試樣的縱向戳穿強度,則應將其縱向正面、縱向反面的測定值進行算術平均;同樣若要測定一張試樣的橫向戳穿強度,則應將其橫向正面、橫向反面的測定值進行算術平均。
3) 報告結果時,如果最終結果小于12J,則準確至0.1J;如果最終結果大于12J,則準確至0.2J。必要時,應報告最大值、最小值、標準偏差和變異系數。
七、可能的錯誤操作及誤差來源
7.1 可能的錯誤操作
7.1.1 開機直接測。
本儀器屬于電子儀器,測量前要預熱30min以上。
7.1.2 儀器調水平
儀器是否水平直接影響試驗數據的準確性。試驗之前,一定要調水平。
7.1.3 檔位選擇不正確
根據試樣的戳穿性能選擇合適的檔位,使測量結果在量程的20%~80%之間。如果超過范圍選用下面高一檔的測量范圍。
7.1.4 測試同一個方向
戳穿強度的縱向和橫向的測試結果有差別,一般橫向戳穿強度大于縱向戳穿強度。以縱向正面,縱向反面,橫向正面、橫向反面各2個測定值進行算術平均,作為該試樣的戳穿強度。
7.1.5 防摩擦套環未套到戳穿頭的后部
如果防摩擦套環未套到戳穿頭的后部,試樣在戳穿過程中會回彈或夾住擺桿,從而影響測試結果。
7.2 主要誤差來源
7.2.1 壓力測量系統校準不準確
本儀器高精密電子產品,使用一段時間后,因為電子元器件及傳感器的性能會發生變化,從而影響測試結果,所以要定期進行校準。
7.2.2 擺軸摩擦力
擺軸摩擦力對測試結果有一定的影響,摩擦力大會使測試結果偏高。
7.2.3 試樣夾緊力
試樣的夾緊力對測試結果有一定的影響。一般來說,測試結果隨夾緊力的增加而降低。尤其對于瓦楞紙板,當壓力過大,試樣的瓦楞被壓潰,從而使戳穿強度降低。但壓力太小,試樣在試驗過程中松動,結果會出現偏高趨勢。因此,合理地控制夾緊力是必要的。
7.2.4 防摩擦套環的影響
防摩擦套環是為了在擺錘戳穿試樣后,保持試樣開孔被撐住,從而避免試樣彈回對擺產生摩擦或夾住擺桿。當不能自動擺動就會影響測試結果。
7.2.5 相對濕度的影響
紙板戳穿強度,在一定相對濕度范圍內變化不大,如果相對濕度有所增大則戳穿強度也有輕微的增大,不過變化量不大。
7.2.6 打漿度的影響
隨著打漿度提高,戳穿強度稍有增加,而后隨著打漿度提高,戳穿強度又開始下降。
本文2024年4月,發表于《紙箱世界》雜志
