彎曲挺度是在規定的試驗條件下,紙和紙板在彈性變形范圍內受力彎曲時所需要的力或力矩,反映紙張的挺硬或柔軟程度。彎曲挺度使紙或紙板具有了抗彎、抗壓、抗扭矩的能力。作為一個重要的物理性能指標,挺度的大小與紙制品的加工成型以及應用有密切的關系。一般而言,紙板的挺度越好,紙機的運轉性越好,越有利于產品的生產和處理,反之則會造成紙板的印刷褶皺,套印不準等問題。在包裝紙板中,較高的彎曲挺度使紙板有一定的剛度和強度,提高了紙箱抗凸出的能力,以提升內容物的保護程度。
影響紙和紙板彎曲挺度的影響因素有很多。對紙張而言,其挺度值與原紙的彈性模量和紙張的厚度有關,其中彈性模量的大小與紙頁纖維的結合力和成型技術有密切關系;對多層包裝紙板而言,挺度的大小與各紙層的挺度大小有關。紙板外層紙張抗拉伸和壓縮的能力對紙板挺度的影響最大,隨著紙層向中性層的靠近,該紙層對挺度的作用越來越小。
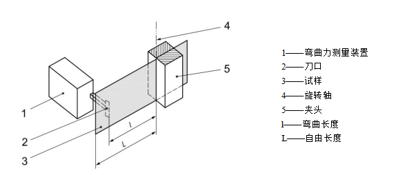
用于測定紙和紙板彎曲挺度的方法有很多,如靜態彎曲法(包含 Taber 法和勻速彎曲法)、Instron 法、Gurley 法、共振法、Clark法。在日常檢測中,實驗室多采用靜態彎曲法作為挺度的測量方法。
靜態彎曲法按照國標GB/T22364-2018《紙和紙板 彎曲挺度的測定》 的規定進行。該標準修改采用ISO 2493-1:2010。適用于制造紙箱和紙盒的紙和紙板。適用于彎曲挺度為20mN~10000mN的紙和紙板。
一、參考方法標準
GB/T 22364、GB/T 2679·3 、ISO 2493.1
二、檢測原理
在規定的彎曲長度(50mm或10mm)下,用將一端被夾持的試樣彎曲到規定角度所需的彎曲力的平均值表示彎曲挺度。
三、檢測設備
試驗儀由機械傳動、硬件電路、傳感器、顯示屏、測量控制及WiFi聯網模塊等部件組成。電腦挺度測定儀(以PN-ST500F智能機型為例)外形結構如圖1所示,測試夾具示意圖如圖2所示。

1-打印機 2-彎曲長度固定插銷 3-距離調節旋鈕 4-試樣夾緊旋鈕 5-顯示屏 6-傳感器
圖1 PN-ST500F 電腦挺度測定儀

圖2 電腦挺度測定儀夾具
四、測試過程
1. 試樣采取和處理
試樣采取按GB/T 450進行,處理按GB/T 10739進行,并在此大氣條件下進行試樣制備和試驗。
2. 試樣制備
測定縱、橫向挺度時,與試樣長度一致的方向為測定方向。試樣的測試區域不應有褶皺、折痕肉眼可見的損傷或其他缺陷。如測試區域包含水印,應在試驗報告中注明。標記試樣正反面,以確保正反兩面獲得相同數量的測試結果。高扭曲和卷曲的試樣可能得出不可靠的結果,拉直卷曲或扭曲的試樣均可能對原材料造成損壞。在每個試驗方向切取至少10片試樣,試樣寬度為38.0mm,長度至少80mm(彎曲長度為50 mm)。如使用較短的彎曲長度,試樣長度應至少為40mm(彎曲長度為10mm)。
3. 測試
如需測量彎曲挺度指數,按GB/T451.2規定測定試樣的定量。
在50.0mm彎曲長度下進行試驗(設置彎曲長度50mm)。將試樣放入夾頭,確保試樣對齊并以規定的自由長度伸出夾頭。 將儀器的彎曲角度設定為15°(設置時間3s)。測試前不應以任何方式彎曲試樣,對任何試樣的測試不應超過一次。為獲得準確的彎曲角度,試驗前應確保刀口線與試樣表面接觸但不對試樣施加任何力。
如果最大彎曲力在試樣彎曲到15°前出現,或在測試過程中出現斷裂、扭結或褶皺,應舍棄試驗結果。如果超過10%的試樣出現這種情況,應使用7.5°的彎曲角度,并應在試驗報告中注明所使用的彎曲角度。

圖3 紙和紙板彎曲挺度測試設備
按【測試】鍵,啟動測試,彎曲至設置角度,停止測試,夾頭復位,屏幕顯示測試結果。
測定時試樣正反面彎曲試驗的數目應相同。對每個測試方向,在規定的彎曲角度下,應至少測試10個試樣并得到10組有效數據。試樣從儀器夾頭上取下后不得再次使用。
4. 計算和結果表示
? 彎曲挺度
對每個試驗方向,以所有彎曲力有效數據的平均值計算彎曲挺度及標準偏差。
報告每個方向的彎曲挺度,單位為牛頓(N)或毫牛頓(mN),保留三位有效數字。
? 彎曲挺度指數
按式(1)計算每個試驗方向的彎曲挺度指數:
式中:
B1 — 彎曲挺度指數,單位為N·m6/g3;
B — 彎曲力值,單位為N;
G — 試樣的定量,單位為g/m2。
報告每個試驗方向的彎曲挺度指數,保留三位有效數字。
七、可能的錯誤操作及誤差來源
7.1 可能的錯誤操作
7.1.1 開機直接測。
本儀器屬于電子儀器,測量前要預熱30min以上。
7.1.2 放置試樣時,裸手拿住靠近夾頭部位
不應用裸手接觸試樣靠近夾頭部位的區域,這一區域水分含量的變化會影響到試驗結果。
7.1.3 不同彎曲長度的結果相互換算
對彎曲挺度太低以至于在此彎曲長度下無法測定的試樣,可使用10.0mm的彎曲長度。這種情況下,應在試驗報告中注明所使用的彎曲長度。注:使用不同彎曲長度得到的結果不能相互換算。
7.1.4 試驗前未進行溫濕度處理
紙制品具有的親水性的特性,其壓縮性能容易受周圍環境的溫度、濕度的影響。
7.2 主要誤差來源
7.2.1 壓力測量系統校準不準確
本儀器高精密電子產品,使用一段時間后,因為電子元器件及傳感器的性能會發生變化,從而影響測試結果,所以要定期進行校準。
7.2.2 取樣的影響
取樣的質量直接影響測試結果,取樣精度越高,測試數據更準確。
本文2024年6月,發表于《紙箱世界》雜志
