吸水性是表征紙與紙板表面吸水能力的一項技術指標。可勃法測定紙與紙板的吸水性,用可勃值(Cobb)表示在一定條件下,在規定的時間內,單位面積紙與紙板表面所吸收的水的質量。紙與紙板的抗水性能一般通過施膠來獲得,施膠可以提高紙與紙板的強度,也可以減少水分的滲透。施膠分為漿內施膠和表面施膠,造紙過程中漿料中加入施膠劑或紙頁表面涂上施膠劑,從而降低成紙的親水性。箱紙板和瓦楞原紙是制作瓦楞紙板的原材料,需要有較好的吸液能力,以便制作瓦楞紙板時上膠和黏合,故其吸水性不能太低,一般采用表面施膠的工藝,既可獲得需要的抗水性,又能提高紙頁的表面強度。
評價紙箱表面的防潮、防水性能,有一個最重要的技術指標,即表面吸水性,其數值越小,則防護性能越好。
1. 國標GB/T 13024-2016中,對箱紙板的正面做了如下規定:優等品≤35g/m2;一等品≤40g/m2;一等品≤60g/m2(按GB/T 1540測定,浸水時間為2min)。
2. 國標GB/T 13023-2008中,對瓦楞芯(原)的紙做了如下規定:優等品≤100/m2(按GB/T 1540測定,浸水時間為1min)。
GB/T 1540-2002《紙和紙板吸水性的測定 可勃法》主要適用于測定施膠紙與紙板的吸水性。不適用于定量低于50g/m2,施膠度較低或有較多針孔的原紙和壓花紙;不適用于未施膠的紙與紙板;不適用于準確評價紙與紙板的書寫性能。
1、測試儀器及方法標準
GB/T1540、ISO535、QB/T1668
2、測試目的
吸水性主要影響瓦楞紙箱的防潮性能,這是因為紙箱原紙使用的纖維是一種親水性的物質,天生吸水性強。梅雨季節等潮濕天氣,空氣中的相對濕度過高時,紙箱與空氣直接接觸,會吸收空氣中的水分,導致生產出來的瓦楞紙箱、紙板變軟。通過檢測來評估紙與紙板的表面吸水能力,從而更好地控制紙和紙板的質量。
3、測試原理和設備結構
本儀器測試原理可簡述為:試驗前稱量試樣,當試樣的一面與水接觸達到規定時間后,吸干試樣上的多余水分,并立即稱量。以單位面積試樣增加的質量來表示結果,單位為克每平方米(g/m2)。
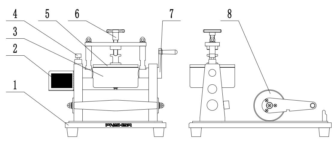
本儀器由底座、圓筒、壓蓋、夾緊裝置、金屬壓輥及秒表等部件組成。本儀器(以PN-COBB可勃吸收性測定儀為例)外形結構如圖1所示。

1-底座 2-秒表 3-圓筒 4-滾花螺母 5-壓蓋 6-夾緊裝置 7-把手 8-金屬壓輥
圖1 可勃吸收性測定儀結構示意圖
可勃吸收性測定儀的主要技術參數:
1) 試驗面積: (100±0.2)cm2;
2) 試驗用水量: (100±5)mL;
3) 壓輥寬度: (200±0.5)mm;
4) 壓輥質量: (10±0.5)kg。
4、試樣的采取、處理及試樣的準備
按GB/T 450采取試樣,按GB/T 10739進行溫濕度處理。將處理后的試樣用可勃取樣器切成φ125mm 的圓形或125mm×125mm 方形試樣10張(正反面各5張)。
5、試驗步驟及方法
試驗應在GB/T 10739規定的大氣條件下進行。
在放置試樣前,應保證與試樣接觸的圓筒環面、腳墊是干燥的,同時手不應接觸測試區。用量筒取100mL水倒入圓筒中,然后將已稱好質量的試樣放置于圓筒的環形面上且測試面向下。將壓蓋蓋在試樣上并夾緊,使之與圓筒固定在一起。當測試時間確定后,移去剩余水的時間和完成吸水的時間應符合表1的規定。
表1 移去剩余水的時間和完成吸水的時間

將圓筒翻轉180°,同時打開秒表計時。在吸水結束前 10s~15 s將圓筒翻正,松開壓蓋夾緊裝置,取下試樣。注意:每測試 5 次后,應更換測試用水,以免影響測試結果。在到達規定吸水時間的瞬間,把已從圓筒上取下的試樣,吸水面朝下地放在預先鋪好的吸水紙上。再在試樣上面放上一張吸水紙,然后立即用金屬壓輥不加其他壓力地在 4s 內往返輥壓一次,將試樣表面剩余的水吸干。將試樣快速取出,吸水面向里對折,然后再對折一次后稱量,準確至 0.001 g。對于厚紙板,試樣可能不易折疊,在此情況下應盡快進行第二次稱量。

圖2 紙與紙板吸水性測試設備
對于用吸水紙吸水后,表面仍有過量水的試樣應舍棄。同時應檢查該現象是否是由吸水紙不符合要求引起的。當被夾區域的周圍出現滲漏或非測試區域接觸到水時,應舍棄該試樣。
6、結果計算分析
每個試樣的可勃值應根據式(1)計算,以克/平方米表示,精確至一位小數
Cobb120 = (m2 - m1)× 100 g/m2……………(式1)
Cobb120——吸水時間為120s的可勃值,g/m2;
m2——吸水后稱出的試樣質量,g;m1——吸水前稱出的試樣質量,g。
分別計算正反面各5個試樣可勃值的平均值,作為該樣品正反面的測試結果;若不分正反面,則計算試樣兩面可勃值的平均值作為該樣品的測試結果。
箱紙板正反面的吸水性是不同的。例如定量160g/m2的箱紙板,吸水2min后,用壓輥輥壓后,試樣吸水前后及正反面的對比如圖3所示。

圖3 箱紙板正、反面吸水性
7、可能的錯誤操作及誤差來源
7.1 可能的錯誤操作
7.1.1 試驗用水采用自來水
自來水中雜質比較多,影響紙與紙板的吸水性。標準規定試驗應使用蒸餾水或去離子水,試驗過程中水的溫度與環境溫度相一致,即(23±1)℃。
7.1.2 測試5次后,加水不換水
國標規定每測試5次后,應更換測試用水,以免影響測試結果。在ISO國際標準中,規定每試驗一次就要更換新的水,相對比較麻煩。一般來講,水量減少5mL以下,對試驗結果不會造成太大誤差。
7.1.3 吸水紙不可重復使用
吸水紙的定量應為 200 g/m2~250 g/m2,其毛細吸收高度按 GB/T 461.1測定應不小于75 mm/10 min。當吸水紙的單層定量小于 200 g/m2時,可多層加以滿足上述要求。吸水紙只要能保證其吸水性,可重復使用。
7.2 主要誤差來源
7.2.1 電子天平精度不夠
按標準要求所稱量值應精確到0.001g,從理論上看使用感量為0.001g的天平就夠了。但是,在實際工作中卻很有可能遇到天平末尾數漂移,不能保證精確度。為了保證精確度,最好選用感量為0.0001g的電子天平。稱量結果精確到小數點后三位。
7.2.2 每次稱量后,示值不回零
天平未調水平、未預熱、未預加載、線性不好和更換位置后沒校準可能會產生這種示值不回零的情況。電子天平是電子儀器,測量前要預熱30min以上,使內部電子器件達到熱穩定平衡。預加載是對電子天平進行短暫加壓和卸壓操作,這是因為天平長時間不使用后,其內部傳感器是處于休眠狀態,金屬彈片也停止了工作,此時的電子天平性能處于不穩定狀態,示值穩定性和回零不好。電子天平首次使用前,先調水平,開機預熱,測量前先進行預加載,定期進行校準。
本文于2023年8月,發表于《紙箱世界》雜志
