瓦楞紙板厚度是指瓦楞紙板試樣在規定的壓力下,在厚度測定儀兩平行面之間測量的距離,其測定按照GB/T 6547——1998《瓦楞紙板厚度的測定法》進行。
瓦楞紙板厚度直接影響瓦楞紙板的邊壓強度、戳穿強度和抗壓強度及抗彎挺度等物理性能。瓦楞紙板厚度取決于面紙、里紙與芯紙的厚度、楞高,也跟瓦楞輥磨損量、加工和印刷工藝等諸多因素有關。由于瓦楞輥磨損、塌楞、歪楞、楞高不齊以及裱糊、特別是印刷過程加壓等造成的楞高損失,會影響到紙箱的承壓能力,進而在產品堆碼過程中容易出現倒垛、塌垛、散包等質量問題。
瓦楞紙板厚度測量受到測量頭面積、壓力、下壓速度以及讀表時間等因素影響,厚度隨著測量頭面積的增大而變大;隨著壓力的增大而變小,并趨于一定值;測量時間越長,厚度越小。瓦楞紙板厚度測定儀應滿足如下三個參數:
(1) 接觸壓力:(20±0.5)kPa;
(2) 接觸面積:(10±0.2)cm2;
(3) 測量頭下降速度:(2~3)mm/min。
瓦楞紙板的國標GB/T 6544-2008《瓦楞紙板》規定瓦楞紙板的厚度:單瓦楞紙板厚度應高于表1規定相應楞高的下限值;多層瓦楞紙板厚度應高于表1所規定相應楞高的下限值之和。
表1

瓦楞紙板的厚度按GB/T 6547-1998《瓦楞紙板厚度的測定法》進行測定。
1、 測試儀器及方法標準
GB/T 6547、ISO3034
2、 測試目的
瓦楞紙板在制成紙箱的加工過程中,瓦楞高度會有所損失的,例如經過模切、壓痕分切、開槽、印刷等生產工藝,都會大大地降低其厚度,破壞瓦楞的結構及承壓能力,直接導致紙箱的抗壓強度下降,因此瓦楞紙板的厚度控制成為紙板生產過程中非常重要的工作。
3、 測試原理和設備結構
測試原理可簡述為:瓦楞紙板試樣在規定的壓力下,兩平行面之間的距離,單位為mm。
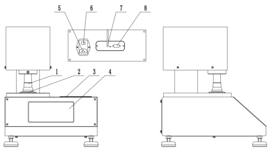
本儀器由機械傳動、硬件電路、傳感器、顯示屏及智能測量控制等部件組成。本儀器(以PN-PT20F智能機型為例)外形結構如圖1所示。

1-測量頭 2-量砧 3-打印機 4-顯示屏 5-電源插座 6-開關 7-天線 8-串口
圖1 瓦楞紙板厚度測定儀結構示意圖
1、 試樣的采取、處理及試樣的準備
按照國標GB/T 450和GB/T 10739進行試樣的采取和處理。
選擇足夠大的待測瓦楞紙板,切取面積為500cm2(200mm×250mm)的試樣,以保證讀取10個有效的數據。不得從同一張樣品上切取多于2個試樣,試樣上不得有損壞或其他不合規定之處,除非有關方同意,否則不得有機加工的痕跡。
2、 實驗步驟及方法
在規定的大氣條件下進行測試,每個試樣在不同的點測量兩次。
將試樣水平放入儀器測量頭和量鉆兩平面之間,試樣的邊緣與圓形底盤邊緣之間的最小距離不小于50mm。測量時應輕輕地以2~3mm/min的速度將上測量頭壓在試樣上,以避免產生沖擊影響測量結果,并保證樣品表面與厚度儀測量平面的平行。
當示值穩定并且在紙板被“壓陷”下去前讀數。讀數時不許將手壓在儀器上和樣品上。重復上述步驟測試其余的四個試樣。

圖3 瓦楞紙板厚度測試設備
1、 結果計算分析
計算不少于10個試樣的平均值和標準偏差,以mm表示。
2、 可能的錯誤操作及誤差來源
7.1 可能的錯誤操作
7.1.1 開機直接測。
本儀器屬于精密電子儀器,測量前要預熱30min以上,使內部電子器件達到熱穩定平衡。
7.1.2 不清潔測量面,直接測。
少量塵埃一開始可能不會影響讀數,但累積到一定程度就造成測試結果不準確。如果測量面上有灰塵,進行清零,否則將會造成測量結果偏低,一個灰塵的零點偏移可達到5微米,所以測量面一定要保持清潔。
7.1.3 用游標卡尺直接測量瓦楞紙板的縱切邊來判斷厚度
由于瓦楞紙板生產線在縱切時,薄刀縱切有一定的壓力,瓦楞紙板的縱切邊一般會有壓塌,這樣測定時數值會偏低。其實在進行厚度測定時是在標準壓力和測量面積下測定的,并且要選擇多點接觸測定取平均值。
7.2 主要誤差來源
壓力測量系統校準不準確。本儀器為高精密電子產品,使用一段時間后,因為測量頭上下導向機構的摩擦阻力變化影響壓力大小,同時電子元器件及傳感器具的性能變化,測試準確度有一定要漂移,從而會影響測試結果,要定期對儀器進行維護及校準。
本論于2023年5月發表于《紙箱世界》雜志
